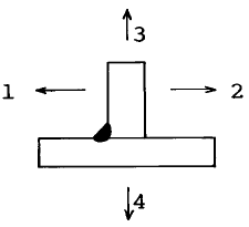
다음 그림과 같이 필릿 용접을 하였을 때, 어느 방향으로 변형이 가장 크게 나타나는가?
속성암기 모드
0
정답률 : 75%
다음 그림과 같이 필릿 용접을 하였을 때, 어느 방향으로 변형이 가장 크게 나타나는가?

1
2
3
4
채점하기
다음 그림과 같이 필릿 용접을 하였을 때, 어느 방향으로 변형이 가장 크게 나타나는가?

1
2
3
4